7 febbraio 2025
Istruzioni per l'uso
Istruzioni per l'uso - Ponte per lavello di Naniwa
Questo supporto per pietra da affilare si posiziona semplicemente su un lavello. In questo modo avrete sempre un'area di affilatura pulita con acqua corrente. Dimenticatevi della consueta battaglia di fango durante l'affilatura! I supporti sono realizzati in plastica morbida per evitare graffi sul lavello. La costruzione è molto stabile.
Per larghezza del lavello (da davanti a dietro) 400 - 546 mm
Per lunghezza della pietra 203 - 257 mm
Nota sulla dimensione del lavello: Se il vostro lavello è più piccolo di 400 mm, il profilo in acciaio inossidabile mobile può essere accorciato fino a 7 cm (sega per metallo o Flex). La larghezza minima del lavello è però di 33 cm!
Nota sulla dimensione della pietra: Questo ponte per lavello è progettato per l'uso professionale. Pertanto, dovreste utilizzare pietre il più grandi possibile con una lunghezza di almeno 203 mm. Per pietre più piccole è necessaria una piastra di supporto costruita da voi.
Per larghezza del lavello (da davanti a dietro) 400 - 546 mm
Per lunghezza della pietra 203 - 257 mm
Nota sulla dimensione del lavello: Se il vostro lavello è più piccolo di 400 mm, il profilo in acciaio inossidabile mobile può essere accorciato fino a 7 cm (sega per metallo o Flex). La larghezza minima del lavello è però di 33 cm!
Nota sulla dimensione della pietra: Questo ponte per lavello è progettato per l'uso professionale. Pertanto, dovreste utilizzare pietre il più grandi possibile con una lunghezza di almeno 203 mm. Per pietre più piccole è necessaria una piastra di supporto costruita da voi.
In questa immagine puoi vedere i tastatori di profilo collegati senza soluzione di continuità. La lunghezza del profilo si allunga collegando un piccolo e un grande modello a 384 mm, collegando due grandi modelli a 514 mm.
Nota: Potrebbe essere necessario ruotare tutte le lamelle di un tastatore di 180°!
Nota: Potrebbe essere necessario ruotare tutte le lamelle di un tastatore di 180°!

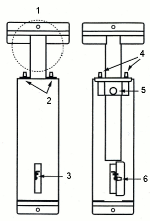
1) Impostazione per larghezza del lavello
2) Impostazione per lunghezza della pietra
3) fermo posteriore della pietra regolabile in altezza
4) fermo anteriore della pietra spostabile per la dimensione della pietra utilizzata. Dopo aver allentato la vite, il fermo può essere sollevato e avvicinato alla pietra per la fissazione. La vite si trova nella parte inferiore.
2) Impostazione per lunghezza della pietra
3) fermo posteriore della pietra regolabile in altezza
4) fermo anteriore della pietra spostabile per la dimensione della pietra utilizzata. Dopo aver allentato la vite, il fermo può essere sollevato e avvicinato alla pietra per la fissazione. La vite si trova nella parte inferiore.
